Isletim sisteminiz Flash Ögeleri Desteklemiyor.
Yüklemek için tiklayiniz.
Isletim sisteminiz Flash Ögeleri Desteklemiyor.
Yüklemek için tiklayiniz.
   
  Yeni Sayfa 2
GENEL AMAÇLI KÜRESEL VANALAR
DOĞALGAZ VANALARI
RADYATÖR VANALARI, ÇEK VALF, PİSLİK TUTUCU VE KONDENSTOPLAR
PİRİNÇ VE ALUMİNYUM KOLLEKTÖRLER VE BAĞLANTI.RAKORLARI
KÜRESEL MUSLUKLAR
BORU KELEPÇELERİ
  haber

Mail Grubumuza Kayıt Olun...
Kampanya ve Haberlerimizden İlk Siz Haberdar Olun!!

  Mail Listemize Kayıt Olun

  E-mail Adresiniz : 

   

 

 

 

 

 

 

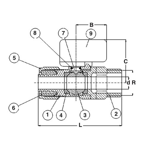
Erkek Mini Vana Ölçü Tablosu

Boru Dişi

Anma Boyutu

d (mm)

L (mm)

B (mm)

C (mm)

1/2"

15

9

63,5

22

31

 

 

Erkek Mini Vana Malzeme Listesi

No

Parça Adı

Malzeme

1

Gövde

CuZn40Pb2 (Nikel Kaplı)

2

Manşon

CuZn40Pb2 (Nikel Kaplı)

3

Küre

CuZn40Pb2 (Krom Kaplı)

4

Sızdırmazlık Ringi

PTFE (Teflon)

5

Somun

CuZn40Pb2 (Nikel Kaplı)

6

Yüksük

CuZn37Pb

7

Mil

CuZn39Pb3

8

O-ring

Nitril / NBR

9

Mandal

Aluminyum (Fırın Boya)

 
 
   

Ana Sayfa  Hakkımızda   I    Referanslar  I   Sertifikalar  I    İletişim  I    İnsan Kaynakları   I    E-mail

     Tüm Hakları Saklıdır.